Java实现WAV文件信息解析与打印
Java实现WAV文件信息解析与打印
在日常音频处理工作中,我们经常会遇到各种音频文件格式,其中最经典的无损音频格式之一就是 WAV(Waveform Audio File Format)。WAV 文件以 PCM(脉冲编码调制)形式存储音频数据,结构相对简单,但了解其内部细节对于音频处理、剪辑、合并和分析都非常重要。

本文将分享一个纯 Java 实现的 WAV 文件信息解析工具,能够从文件头到数据块完整打印 WAV 文件信息,包括音频时长、采样率、通道数等关键信息。通过阅读本文,你不仅可以掌握 WAV 文件结构,也可以基于此实现音频分析、剪辑或转换工具。

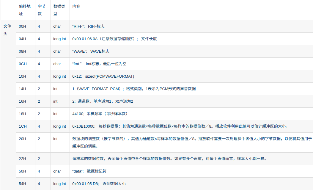
一、WAV 文件结构概述
WAV 文件采用 RIFF(Resource Interchange File Format) 容器格式,其结构大致如下:
+------------------+------------------+-----------------+
| ChunkID "RIFF" | ChunkSize | Format "WAVE" |
+------------------+------------------+-----------------+
| Subchunk1ID "fmt "| Subchunk1Size | AudioFormat ... |
+------------------------------------------------------+
| Subchunk2ID "data"| Subchunk2Size | 音频数据 |
+------------------------------------------------------+
- ChunkID(4字节):标识文件类型,一般为
"RIFF"。 - ChunkSize(4字节):整个文件大小减去 8 字节。
- Format(4字节):文件格式标识,一般为
"WAVE"。 - Subchunk1(fmt 块):存储音频格式信息,如 PCM、采样率、声道数等。
- Subchunk2(data 块):存储实际音频数据。
WAV 文件还可能包含其他扩展块,如 LIST、fact 等,但对于 PCM 音频,我们最关心的还是 fmt 和 data 块。

二、Java实现WAV信息解析
下面是完整代码示例,我们逐步解析:
public static void main(String[] args) throws Exception {
File wavFile1 = new File("D:/input/11.wav");
printWavInfo(wavFile1);
File wavFile2 = new File("D:/input/test2.wav");
printWavInfo(wavFile2);
File wavFile = new File("D:/input/1.wav");
printWavInfo(wavFile);
}
/**
* 打印WAV文件头信息
*/
public static void printWavInfo(File wavFile) throws IOException {
try (FileInputStream fis = new FileInputStream(wavFile)) {
byte[] header = new byte[12];
if (fis.read(header) != 12) throw new IOException("WAV文件头长度不足 12 字节");
String chunkID = new String(header, 0, 4);
int chunkSize = ByteBuffer.wrap(header, 4, 4).order(ByteOrder.LITTLE_ENDIAN).getInt();
String format = new String(header, 8, 4);
if (!"RIFF".equals(chunkID) || !"WAVE".equals(format)) {
throw new IOException("不是有效的WAV文件");
}
System.out.println("====== WAV 文件信息 ======");
System.out.println("文件路径: " + wavFile.getAbsolutePath());
System.out.println("ChunkID : " + chunkID);
System.out.println("ChunkSize : " + chunkSize + " bytes");
System.out.println("Format : " + format);
String subchunkID;
int subchunkSize;
short audioFormat = 1, numChannels = 1, bitsPerSample = 16;
int sampleRate = 0, byteRate = 0, blockAlign = 0;
int dataSize = 0;
byte[] chunkHeader = new byte[8];
while (fis.read(chunkHeader) == 8) {
subchunkID = new String(chunkHeader, 0, 4);
subchunkSize = ByteBuffer.wrap(chunkHeader, 4, 4)
.order(ByteOrder.LITTLE_ENDIAN)
.getInt();
if ("fmt ".equals(subchunkID)) {
byte[] fmtData = new byte[subchunkSize];
fis.read(fmtData);
ByteBuffer bb = ByteBuffer.wrap(fmtData).order(ByteOrder.LITTLE_ENDIAN);
audioFormat = bb.getShort();
numChannels = bb.getShort();
sampleRate = bb.getInt();
byteRate = bb.getInt();
blockAlign = bb.getShort();
bitsPerSample = bb.getShort();
} else if ("data".equals(subchunkID)) {
dataSize = subchunkSize;
break; // 找到 data,停止读取
} else {
// 跳过不需要的块
fis.skip(subchunkSize);
}
}
System.out.println("AudioFormat : " + audioFormat + (audioFormat == 1 ? " (PCM)" : " (压缩格式)"));
System.out.println("NumChannels : " + numChannels);
System.out.println("SampleRate : " + sampleRate + " Hz");
System.out.println("ByteRate : " + byteRate);
System.out.println("BlockAlign : " + blockAlign);
System.out.println("BitsPerSample : " + bitsPerSample);
System.out.println("Subchunk2ID : data");
System.out.println("Subchunk2Size : " + dataSize + " bytes");
if (byteRate > 0)
System.out.printf("音频时长 : %.2f 秒%n", dataSize * 1.0 / byteRate);
System.out.println("===========================");
}
}
三、代码解析
-
文件头验证
String chunkID = new String(header, 0, 4); String format = new String(header, 8, 4); if (!"RIFF".equals(chunkID) || !"WAVE".equals(format)) throw new IOException("不是有效的WAV文件");这里读取前 12 字节并验证
"RIFF"和"WAVE",确保文件是标准 WAV 文件。 -
读取 fmt 块
fmt块是 WAV 文件的核心,存储 PCM 或压缩格式信息:- AudioFormat:1 表示 PCM,其他值表示压缩音频
- NumChannels:声道数(1 = 单声道,2 = 双声道)
- SampleRate:采样率(如 44100 Hz)
- ByteRate:每秒字节数 = SampleRate × NumChannels × BitsPerSample/8
- BlockAlign:每个采样块字节数 = NumChannels × BitsPerSample/8
- BitsPerSample:每个样本的位深度
-
读取 data 块
data块存储实际音频数据,长度就是Subchunk2Size,可用于计算音频时长:if (byteRate > 0) System.out.printf("音频时长 : %.2f 秒%n", dataSize * 1.0 / byteRate);通过
dataSize / byteRate可以得到音频时长(秒)。 -
跳过其他扩展块
WAV 文件可能包含扩展块,如
LIST或fact,使用fis.skip(subchunkSize)跳过即可,不影响 PCM 解析。
四、运行效果示例
假设有一个单声道 16bit、采样率 44100Hz 的 WAV 文件 11.wav,打印结果类似:
====== WAV 文件信息 ======
文件路径: D:/input/11.wav
ChunkID : RIFF
ChunkSize : 42221196 bytes
Format : WAVE
AudioFormat : 1 (PCM)
NumChannels : 1
SampleRate : 44100 Hz
ByteRate : 88200
BlockAlign : 2
BitsPerSample : 16
Subchunk2ID : data
Subchunk2Size : 42221184 bytes
音频时长 : 478.57 秒
===========================
通过这个输出,我们可以快速获得音频的各项参数,并为后续处理(如剪辑、拼接、变速)提供依据。


五、扩展思路
-
支持更多格式
可以增加对fact、LIST等扩展块的解析,也可支持非 PCM 压缩 WAV 文件。 -
批量解析
将printWavInfo封装成工具类,可遍历目录下所有 WAV 文件,批量打印信息或导出到 CSV。 -
音频处理集成
- 拼接多个 WAV 文件
- 剪切指定时间段
- 改变采样率或位深度
通过 Java 内存流操作(
ByteArrayOutputStream+AudioInputStream)可实现高性能纯本地音频处理,无需 FFmpeg。 -
音频可视化
结合 Java 图形库(如 Swing、JavaFX)绘制波形图,实现音频可视化分析。
六、总结
本文介绍了一个 纯 Java 实现的 WAV 文件信息打印工具,从文件头解析到 fmt 块和 data 块,能够打印:
- 音频格式(PCM 或压缩)
- 声道数
- 采样率
- 每秒字节数
- 每个采样块字节数
- 位深度
- 音频时长
相比依赖 FFmpeg 等外部工具,这种纯 Java 方法更轻量、可嵌入 Java 项目,并能在内存中快速处理 WAV 文件。
掌握 WAV 文件结构和 Java 文件流操作之后,你就可以在此基础上扩展音频处理功能,例如音频拼接、分割、变速甚至实时处理。
- 点赞
- 收藏
- 关注作者
评论(0)