基于STM32设计的数码相册
【摘要】 项目是基于STM32设计的数码相册,能够通过LCD显示屏解码显示主流的图片,支持bmp、jpg、gif等格式。用户可以通过按键或者触摸屏来切换图片,同时还可以旋转显示,并能够自适应居中显示,小尺寸图片居中显示,大尺寸图片自动缩小显示(超出屏幕范围)。图片从SD卡中获取。
一、项目介绍
项目是基于STM32设计的数码相册,能够通过LCD显示屏解码显示主流的图片,支持bmp、jpg、gif等格式。用户可以通过按键或者触摸屏来切换图片,同时还可以旋转显示,并能够自适应居中显示,小尺寸图片居中显示,大尺寸图片自动缩小显示(超出屏幕范围)。图片从SD卡中获取。

二、设计思路
2.1 硬件设计
本项目所需的主要硬件:
- STM32F103ZET6
- LCD屏幕
- SD卡模块
- 按键和触摸屏
2.2 软件设计
(1)解码图片
在STM32芯片中,解码图片需要将读取到的数据存入图形缓冲区中,以便进行图画显示。常用的解码算法有JPEG解码和BMP解码。
(2)图片显示
为了更好的实现图片旋转和缩放功能,在显示图片时需对其进行矩阵运算。通过左右翻转和上下翻转,可实现图片的旋转功能。通过计算图片与显示屏幕之间的比例关系并进行缩放,实现自适应居中和图片的缩放功能。
(3)SD卡
SD卡模块可通过SPI接口与STM32芯片进行通信,读取SD卡中的图片数据,实现对图片的加载和显示。
(4)按键和触摸屏
在使用过程中,用户可以通过按键和触摸屏对图片进行切换、旋转和缩放等操作。通过设置中断处理函数,响应用户的操作并及时更新显示屏幕上的图片。
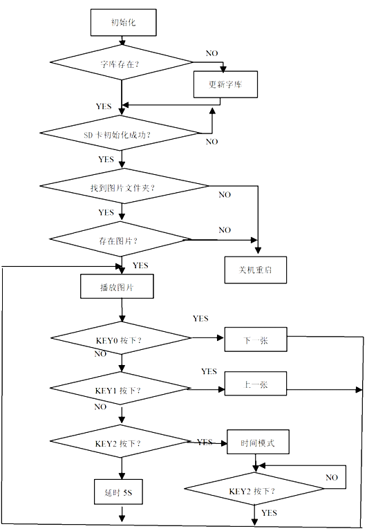
2.3 图片播放流程图

2.4 显示效果





三、代码设计
3.1 主函数
#include "stm32f10x.h"
#include "led.h"
#include "delay.h"
#include "key.h"
#include "usart.h"
#include <string.h>
#include <stdio.h>
#include "sd.h" //SD卡
#include "ff.h" //文件系统
#include "bmp.h" //文件系统
#include "iic.h"
#include "at24c02.h"
#include "xpt2046.h"
#include "lcd.h"
FATFS fs; // 用户定义的文件系统结构体
int main()
{
DIR dir_dp;
FILINFO file_info;
u32 sd_size; //存放SD卡返回的容量
BeepInit(); //蜂鸣器初始化
LedInit(); //LED灯初始化
UsartInit(USART1,72,115200);
KeyInit(); //按键初始化
IICInit();
LcdInit();
TOUCH_Init();
//TOUCH_ADJUST(); //触摸屏校准
printf("串口工作正常!\r\n");
if(SDCardDeviceInit())
{
printf("SD卡初始化失败!\r\n");
}
sd_size=GetSDCardSectorCount(); //检测SD卡大小,返回值右移11位得到以M为单位的容量
printf("SD卡Sizeof:%d\r\n",sd_size>>11);
f_mount(&fs,"0:",1); // 注册文件系统工作区,驱动器号 0,初始化后其他函数可使用里面的参数
LcdClear(0xFFFF);
//f_mkdir("0:/目录创建测试!"); //测试OK
//f_unlink("0:/123"); //删除目录,注意只能删除空目录
//f_unlink("0:/1.bmp");//删除文件
//printf("%d\r\n",Show_BMP("1.bmp"));
if(f_opendir(&dir_dp,"0:/bmp")!=FR_OK)printf("目录打开失败!\r\n");
//循环读取目录
while(f_readdir(&dir_dp,&file_info)==FR_OK)
{
if(file_info.fname[0]==0)break; //判断目录跳出条件,表示目录已经读取完毕
if(strstr(file_info.fname,".bmp")) //过滤目录
{
printf("文件名称: %s,文件大小: %ld 字节\r\n",file_info.fname,file_info.fsize);
}else printf("文件名称: %s,文件大小: %ld 字节\r\n",file_info.fname,file_info.fsize);
}
if(f_closedir(&dir_dp)!=FR_OK)printf("目录关闭失败!\r\n");
while(1)
{
LED1=!LED1;
DelayMs(100);
}
}
3.2 BMP图片解码
#include "bmp.h"
unsigned short RGB888ToRGB565(unsigned int n888Color)
{
unsigned short n565Color = 0;
// 获取RGB单色,并截取高位
unsigned char cRed = (n888Color & RGB888_RED) >> 19;
unsigned char cGreen = (n888Color & RGB888_GREEN) >> 10;
unsigned char cBlue = (n888Color & RGB888_BLUE) >> 3;
// 连接
n565Color = (cRed << 11) + (cGreen << 5) + (cBlue << 0);
return n565Color;
}
unsigned int RGB565ToRGB888(unsigned short n565Color)
{
unsigned int n888Color = 0;
// 获取RGB单色,并填充低位
unsigned char cRed = (n565Color & RGB565_RED) >> 8;
unsigned char cGreen = (n565Color & RGB565_GREEN) >> 3;
unsigned char cBlue = (n565Color & RGB565_BLUE) << 3;
// 连接
n888Color = (cRed << 16) + (cGreen << 8) + (cBlue << 0);
return n888Color;
}
/*
函数功能:实现截图功能
参 数:
char filename:文件名称
返 回 值:0表示成功,1表示失败
*/
u8 C_BMP(const char *filename,u32 Width,u32 Height)
{
FIL file; // 用户定义的文件系统结构体
u8 res; // 保存文件操作的返回值
BITMAPFILEHEADER BmpHead; //保存图片文件头的信息
BITMAPINFOHEADER BmpInfo; //图片参数信息
char *p;
u32 cnt,c_32;
int x,y;
u16 c_16; //存放16位的颜色
/*1. 创建一张BMP图片*/
res = f_open(&file,filename, FA_OPEN_ALWAYS | FA_WRITE);
if(res!=0)return 1;
/*2. 创建BMP的图片头参数*/
memset(&BmpHead,0,sizeof(BITMAPFILEHEADER)); //将指定空间赋值为指定的值
p=(char*)&BmpHead.bfType; //填充BMP图片的类型
*p='B';
*(p+1)='M';
//BmpHead.bfType=0x4d42;//'B''M' //0x4d42
BmpHead.bfSize=Width*Height*3+54; //图片的总大小
BmpHead.bfOffBits=54; //图片数据的偏移量
res =f_write(&file,&BmpHead,sizeof(BITMAPFILEHEADER),&cnt);
if(res!=0)return 1;
/*3. 创建BMP图片的参数*/
memset(&BmpInfo,0,sizeof(BITMAPINFOHEADER));
BmpInfo.biSize=sizeof(BITMAPINFOHEADER); //当前结构体大小
BmpInfo.biWidth=Width;
BmpInfo.biHeight=Height;
BmpInfo.biPlanes=1;
BmpInfo.biBitCount=24;
res =f_write(&file,&BmpInfo,sizeof(BITMAPINFOHEADER),&cnt);
if(res!=0)return 1;
/*4. 读取LCD屏的颜色数据,用于创建BMP图片*/
for(y=Height-1;y>=0;y--)
{
for(x=0;x<Width;x++)
{
c_16=LcdReadPoint(x,y); //读取LCD屏上一个点的颜色
c_32=RGB565ToRGB888(c_16); //颜色的转换
res =f_write(&file,&c_32,3,&cnt);
if(res!=0)return 1;
}
}
/*5. 关闭文件*/
f_close(&file);
}
/*
函数功能:BMP图片显示功能
参 数:
char filename:文件名称
返 回 值:0表示成功,1表示失败
*/
u8 Show_BMP(const char *filename)
{
FIL file; // 用户定义的文件系统结构体
u8 res; // 保存文件操作的返回值
BITMAPFILEHEADER BmpHead; //保存图片文件头的信息
BITMAPINFOHEADER BmpInfo; //图片参数信息
char *p;
u32 cnt,c_24;
int x,y;
u16 c_16; //存放16位的颜色
/*1. 打开一张BMP图片*/
res = f_open(&file,filename,FA_READ);
if(res!=0)return 1;
/*2. 读取BMP的图片头参数*/
res =f_read(&file,&BmpHead,sizeof(BITMAPFILEHEADER),&cnt);
if(res!=0)return 1;
/*3. 读取BMP图片的参数*/
res =f_read(&file,&BmpInfo,sizeof(BITMAPINFOHEADER),&cnt);
if(res!=0)return 1;
/*4.显示BMP图片*/
f_lseek(&file,BmpHead.bfOffBits); //移动到RGB数据的存放位置
//后期的优化:读取一行的数据,再显示一行。
for(y=0;y<BmpInfo.biHeight;y++)
{
for(x=0;x<BmpInfo.biWidth;x++)
{
res =f_read(&file,&c_24,3,&cnt);
if(res!=0)return 1;
c_16=RGB888ToRGB565(c_24); //转换颜色
LcdDrawPoint(x,y,c_16);
}
}
/*5. 关闭文件*/
f_close(&file);
}
3.3 jpeg图片解码
#include "piclib.h"
#include "nt35310_lcd.h"
_pic_info picinfo; //图片信息
_pic_phy pic_phy; //图片显示物理接口
/*
函数功能: 划横线函数,需要自己实现
*/
void Picture_DrawLine(u16 x0,u16 y0,u16 len,u16 color)
{
NT35310_Fill(x0,y0,x0+len-1,y0,color);
}
/*
函数功能: 矩形填充颜色
函数参数:
x,y:起始坐标
width,height:宽度和高度。
color:颜色数组
*/
void Picture_FillColor(u16 x,u16 y,u16 width,u16 height,u16 *color)
{
NT35310_DrawRectangle(x,y,x+width-1,y+height-1,*color);
}
/*
函数功能: 画图初始化,在画图之前,必须先调用此函数
函数参数: 指定画点/读点
*/
void Picture_DisplayInit(void)
{
pic_phy.draw_point=NT35310_DrawPoint; //画点函数实现
pic_phy.fill=NT35310_Fill; //填充函数实现,仅GIF需要
pic_phy.draw_hline=Picture_DrawLine; //画线函数实现,仅GIF需要
pic_phy.fillcolor=Picture_FillColor; //颜色填充函数实现,仅TJPGD需要
picinfo.lcdwidth=Lcd_Width; //得到LCD的宽度像素
picinfo.lcdheight=Lcd_Height; //得到LCD的高度像素
picinfo.ImgWidth=0; //初始化宽度为0
picinfo.ImgHeight=0;//初始化高度为0
picinfo.Div_Fac=0; //初始化缩放系数为0
picinfo.S_Height=0; //初始化设定的高度为0
picinfo.S_Width=0; //初始化设定的宽度为0
picinfo.S_XOFF=0; //初始化x轴的偏移量为0
picinfo.S_YOFF=0; //初始化y轴的偏移量为0
picinfo.staticx=0; //初始化当前显示到的x坐标为0
picinfo.staticy=0; //初始化当前显示到的y坐标为0
}
/*
函数功能: 初始化智能画点
说明: 内部调用
*/
void Picture_PointInit(void)
{
float temp,temp1;
temp=(float)picinfo.S_Width/picinfo.ImgWidth;
temp1=(float)picinfo.S_Height/picinfo.ImgHeight;
if(temp<temp1)temp1=temp;//取较小的那个
if(temp1>1)temp1=1;
//使图片处于所给区域的中间
picinfo.S_XOFF+=(picinfo.S_Width-temp1*picinfo.ImgWidth)/2;
picinfo.S_YOFF+=(picinfo.S_Height-temp1*picinfo.ImgHeight)/2;
temp1*=8192;//扩大8192倍
picinfo.Div_Fac=temp1;
picinfo.staticx=0xffff;
picinfo.staticy=0xffff;//放到一个不可能的值上面
}
/*
函数功能: 判断这个像素是否可以显示
函数参数:
(x,y) :像素原始坐标
chg :功能变量.
返回值:0,不需要显示.1,需要显示
*/
u8 Picture_is_Pixel(u16 x,u16 y,u8 chg)
{
if(x!=picinfo.staticx||y!=picinfo.staticy)
{
if(chg==1)
{
picinfo.staticx=x;
picinfo.staticy=y;
}
return 1;
}else return 0;
}
extern u8 jpg_decode(const u8 *filename);
/*
函数功能: 绘制图片
函数参数:
FileName:要显示的图片文件 BMP/JPG/JPEG/GIF
x,y,width,height:坐标及显示区域尺寸
fast:使能jpeg/jpg小图片(图片尺寸小于等于液晶分辨率)快速解码,0,不使能;1,使能.
函数说明: 图片在开始和结束的坐标点范围内显示
*/
u8 Picture_DisplayJPG(const u8 *filename,u16 x,u16 y,u16 width,u16 height,u8 fast)
{
u8 res;//返回值
//显示的图片高度、宽度
picinfo.S_Height=height;
picinfo.S_Width=width;
//显示的开始坐标点
picinfo.S_YOFF=y;
picinfo.S_XOFF=x;
//解码JPG/JPEG
res=jpg_decode(filename); //解码JPG/JPEG
return res;
}
3.4 gif图片解码
#include "piclib.h"
#include <stm32f10x.h>
#include "gif.h"
#include "ff.h"
#include "delay.h"
#include <string.h>
const u16 _aMaskTbl[16] =
{
0x0000, 0x0001, 0x0003, 0x0007,
0x000f, 0x001f, 0x003f, 0x007f,
0x00ff, 0x01ff, 0x03ff, 0x07ff,
0x0fff, 0x1fff, 0x3fff, 0x7fff,
};
const u8 _aInterlaceOffset[]={8,8,4,2};
const u8 _aInterlaceYPos []={0,4,2,1};
u8 gifdecoding=0;//标记GIF正在解码.
//检测GIF头
//返回值:0,是GIF89a/87a;非零,非GIF89a/87a
u8 gif_check_head(FIL *file)
{
u8 gifversion[6];
u32 readed;
u8 res;
res=f_read(file,gifversion,6,(UINT*)&readed);
if(res)return 1;
if((gifversion[0]!='G')||(gifversion[1]!='I')||(gifversion[2]!='F')||
(gifversion[3]!='8')||((gifversion[4]!='7')&&(gifversion[4]!='9'))||
(gifversion[5]!='a'))return 2;
else return 0;
}
//将RGB888转为RGB565
//ctb:RGB888颜色数组首地址.
//返回值:RGB565颜色.
u16 gif_getrgb565(u8 *ctb)
{
u16 r,g,b;
r=(ctb[0]>>3)&0X1F;
g=(ctb[1]>>2)&0X3F;
b=(ctb[2]>>3)&0X1F;
return b+(g<<5)+(r<<11);
}
//读取颜色表
//file:文件;
//gif:gif信息;
//num:tbl大小.
//返回值:0,OK;其他,失败;
u8 gif_readcolortbl(FIL *file,gif89a * gif,u16 num)
{
u8 rgb[3];
u16 t;
u8 res;
u32 readed;
for(t=0;t<num;t++)
{
res=f_read(file,rgb,3,(UINT*)&readed);
if(res)return 1;//读错误
gif->colortbl[t]=gif_getrgb565(rgb);
}
return 0;
}
//得到逻辑屏幕描述,图像尺寸等
//file:文件;
//gif:gif信息;
//返回值:0,OK;其他,失败;
u8 gif_getinfo(FIL *file,gif89a * gif)
{
u32 readed;
u8 res;
res=f_read(file,(u8*)&gif->gifLSD,7,(UINT*)&readed);
if(res)return 1;
if(gif->gifLSD.flag&0x80)//存在全局颜色表
{
gif->numcolors=2<<(gif->gifLSD.flag&0x07);//得到颜色表大小
if(gif_readcolortbl(file,gif,gif->numcolors))return 1;//读错误
}
return 0;
}
//保存全局颜色表
//gif:gif信息;
void gif_savegctbl(gif89a* gif)
{
u16 i=0;
for(i=0;i<256;i++)gif->bkpcolortbl[i]=gif->colortbl[i];//保存全局颜色.
}
//恢复全局颜色表
//gif:gif信息;
void gif_recovergctbl(gif89a* gif)
{
u16 i=0;
for(i=0;i<256;i++)gif->colortbl[i]=gif->bkpcolortbl[i];//恢复全局颜色.
}
//初始化LZW相关参数
//gif:gif信息;
//codesize:lzw码长度
void gif_initlzw(gif89a* gif,u8 codesize)
{
memset((u8 *)gif->lzw, 0, sizeof(LZW_INFO));
gif->lzw->SetCodeSize = codesize;
gif->lzw->CodeSize = codesize + 1;
gif->lzw->ClearCode = (1 << codesize);
gif->lzw->EndCode = (1 << codesize) + 1;
gif->lzw->MaxCode = (1 << codesize) + 2;
gif->lzw->MaxCodeSize = (1 << codesize) << 1;
gif->lzw->ReturnClear = 1;
gif->lzw->LastByte = 2;
gif->lzw->sp = gif->lzw->aDecompBuffer;
}
//读取一个数据块
//gfile:gif文件;
//buf:数据缓存区
//maxnum:最大读写数据限制
u16 gif_getdatablock(FIL *gfile,u8 *buf,u16 maxnum)
{
u8 cnt;
u32 readed;
u32 fpos;
f_read(gfile,&cnt,1,(UINT*)&readed);//得到LZW长度
if(cnt)
{
if (buf)//需要读取
{
if(cnt>maxnum)
{
fpos=f_tell(gfile);
f_lseek(gfile,fpos+cnt);//跳过
return cnt;//直接不读
}
f_read(gfile,buf,cnt,(UINT*)&readed);//得到LZW长度
}else //直接跳过
{
fpos=f_tell(gfile);
f_lseek(gfile,fpos+cnt);//跳过
}
}
return cnt;
}
//ReadExtension
//Purpose:
//Reads an extension block. One extension block can consist of several data blocks.
//If an unknown extension block occures, the routine failes.
//返回值:0,成功;
// 其他,失败
u8 gif_readextension(FIL *gfile,gif89a* gif, int *pTransIndex,u8 *pDisposal)
{
u8 temp;
u32 readed;
u8 buf[4];
f_read(gfile,&temp,1,(UINT*)&readed);//得到长度
switch(temp)
{
case GIF_PLAINTEXT:
case GIF_APPLICATION:
case GIF_COMMENT:
while(gif_getdatablock(gfile,0,256)>0); //获取数据块
return 0;
case GIF_GRAPHICCTL://图形控制扩展块
if(gif_getdatablock(gfile,buf,4)!=4)return 1; //图形控制扩展块的长度必须为4
gif->delay=(buf[2]<<8)|buf[1]; //得到延时
*pDisposal=(buf[0]>>2)&0x7; //得到处理方法
if((buf[0]&0x1)!=0)*pTransIndex=buf[3]; //透明色表
f_read(gfile,&temp,1,(UINT*)&readed); //得到LZW长度
if(temp!=0)return 1; //读取数据块结束符错误.
return 0;
}
return 1;//错误的数据
}
//从LZW缓存中得到下一个LZW码,每个码包含12位
//返回值:<0,错误.
// 其他,正常.
int gif_getnextcode(FIL *gfile,gif89a* gif)
{
int i,j,End;
long Result;
if(gif->lzw->ReturnClear)
{
//The first code should be a clearcode.
gif->lzw->ReturnClear=0;
return gif->lzw->ClearCode;
}
End=gif->lzw->CurBit+gif->lzw->CodeSize;
if(End>=gif->lzw->LastBit)
{
int Count;
if(gif->lzw->GetDone)return-1;//Error
gif->lzw->aBuffer[0]=gif->lzw->aBuffer[gif->lzw->LastByte-2];
gif->lzw->aBuffer[1]=gif->lzw->aBuffer[gif->lzw->LastByte-1];
if((Count=gif_getdatablock(gfile,&gif->lzw->aBuffer[2],300))==0)gif->lzw->GetDone=1;
if(Count<0)return -1;//Error
gif->lzw->LastByte=2+Count;
gif->lzw->CurBit=(gif->lzw->CurBit-gif->lzw->LastBit)+16;
gif->lzw->LastBit=(2+Count)*8;
End=gif->lzw->CurBit+gif->lzw->CodeSize;
}
j=End>>3;
i=gif->lzw->CurBit>>3;
if(i==j)Result=(long)gif->lzw->aBuffer[i];
else if(i+1==j)Result=(long)gif->lzw->aBuffer[i]|((long)gif->lzw->aBuffer[i+1]<<8);
else Result=(long)gif->lzw->aBuffer[i]|((long)gif->lzw->aBuffer[i+1]<<8)|((long)gif->lzw->aBuffer[i+2]<<16);
Result=(Result>>(gif->lzw->CurBit&0x7))&_aMaskTbl[gif->lzw->CodeSize];
gif->lzw->CurBit+=gif->lzw->CodeSize;
return(int)Result;
}
//得到LZW的下一个码
//返回值:<0,错误(-1,不成功;-2,读到结束符了)
// >=0,OK.(LZW的第一个码)
int gif_getnextbyte(FIL *gfile,gif89a* gif)
{
int i,Code,Incode;
while((Code=gif_getnextcode(gfile,gif))>=0)
{
if(Code==gif->lzw->ClearCode)
{
//Corrupt GIFs can make this happen
if(gif->lzw->ClearCode>=(1<<MAX_NUM_LWZ_BITS))return -1;//Error
//Clear the tables
memset((u8*)gif->lzw->aCode,0,sizeof(gif->lzw->aCode));
for(i=0;i<gif->lzw->ClearCode;++i)gif->lzw->aPrefix[i]=i;
//Calculate the'special codes' independence of the initial code size
//and initialize the stack pointer
gif->lzw->CodeSize=gif->lzw->SetCodeSize+1;
gif->lzw->MaxCodeSize=gif->lzw->ClearCode<<1;
gif->lzw->MaxCode=gif->lzw->ClearCode+2;
gif->lzw->sp=gif->lzw->aDecompBuffer;
//Read the first code from the stack after clear ingand initializing*/
do
{
gif->lzw->FirstCode=gif_getnextcode(gfile,gif);
}while(gif->lzw->FirstCode==gif->lzw->ClearCode);
gif->lzw->OldCode=gif->lzw->FirstCode;
return gif->lzw->FirstCode;
}
if(Code==gif->lzw->EndCode)return -2;//End code
Incode=Code;
if(Code>=gif->lzw->MaxCode)
{
*(gif->lzw->sp)++=gif->lzw->FirstCode;
Code=gif->lzw->OldCode;
}
while(Code>=gif->lzw->ClearCode)
{
*(gif->lzw->sp)++=gif->lzw->aPrefix[Code];
if(Code==gif->lzw->aCode[Code])return Code;
if((gif->lzw->sp-gif->lzw->aDecompBuffer)>=sizeof(gif->lzw->aDecompBuffer))return Code;
Code=gif->lzw->aCode[Code];
}
*(gif->lzw->sp)++=gif->lzw->FirstCode=gif->lzw->aPrefix[Code];
if((Code=gif->lzw->MaxCode)<(1<<MAX_NUM_LWZ_BITS))
{
gif->lzw->aCode[Code]=gif->lzw->OldCode;
gif->lzw->aPrefix[Code]=gif->lzw->FirstCode;
++gif->lzw->MaxCode;
if((gif->lzw->MaxCode>=gif->lzw->MaxCodeSize)&&(gif->lzw->MaxCodeSize<(1<<MAX_NUM_LWZ_BITS)))
{
gif->lzw->MaxCodeSize<<=1;
++gif->lzw->CodeSize;
}
}
gif->lzw->OldCode=Incode;
if(gif->lzw->sp>gif->lzw->aDecompBuffer)return *--(gif->lzw->sp);
}
return Code;
}
//DispGIFImage
//Purpose:
// This routine draws a GIF image from the current pointer which should point to a
// valid GIF data block. The size of the desired image is given in the image descriptor.
//Return value:
// 0 if succeed
// 1 if not succeed
//Parameters:
// pDescriptor - Points to a IMAGE_DESCRIPTOR structure, which contains infos about size, colors and interlacing.
// x0, y0 - Obvious.
// Transparency - Color index which should be treated as transparent.
// Disposal - Contains the disposal method of the previous image. If Disposal == 2, the transparent pixels
// of the image are rendered with the background color.
u8 gif_dispimage(FIL *gfile,gif89a* gif,u16 x0,u16 y0,int Transparency, u8 Disposal)
{
u32 readed;
u8 lzwlen;
int Index,OldIndex,XPos,YPos,YCnt,Pass,Interlace,XEnd;
int Width,Height,Cnt,ColorIndex;
u16 bkcolor;
u16 *pTrans;
Width=gif->gifISD.width;
Height=gif->gifISD.height;
XEnd=Width+x0-1;
bkcolor=gif->colortbl[gif->gifLSD.bkcindex];
pTrans=(u16*)gif->colortbl;
f_read(gfile,&lzwlen,1,(UINT*)&readed);//得到LZW长度
gif_initlzw(gif,lzwlen);//Initialize the LZW stack with the LZW code size
Interlace=gif->gifISD.flag&0x40;//是否交织编码
for(YCnt=0,YPos=y0,Pass=0;YCnt<Height;YCnt++)
{
Cnt=0;
OldIndex=-1;
for(XPos=x0;XPos<=XEnd;XPos++)
{
if(gif->lzw->sp>gif->lzw->aDecompBuffer)Index=*--(gif->lzw->sp);
else Index=gif_getnextbyte(gfile,gif);
if(Index==-2)return 0;//Endcode
if((Index<0)||(Index>=gif->numcolors))
{
//IfIndex out of legal range stop decompressing
return 1;//Error
}
//If current index equals old index increment counter
if((Index==OldIndex)&&(XPos<=XEnd))Cnt++;
else
{
if(Cnt)
{
if(OldIndex!=Transparency)
{
pic_phy.draw_hline(XPos-Cnt-1,YPos,Cnt+1,*(pTrans+OldIndex));
}else if(Disposal==2)
{
pic_phy.draw_hline(XPos-Cnt-1,YPos,Cnt+1,bkcolor);
}
Cnt=0;
}else
{
if(OldIndex>=0)
{
if(OldIndex!=Transparency)pic_phy.draw_point(XPos-1,YPos,*(pTrans+OldIndex));
else if(Disposal==2)pic_phy.draw_point(XPos-1,YPos,bkcolor);
}
}
}
OldIndex=Index;
}
if((OldIndex!=Transparency)||(Disposal==2))
{
if(OldIndex!=Transparency)ColorIndex=*(pTrans+OldIndex);
else ColorIndex=bkcolor;
if(Cnt)
{
pic_phy.draw_hline(XPos-Cnt-1,YPos,Cnt+1,ColorIndex);
}else pic_phy.draw_point(XEnd,YPos,ColorIndex);
}
//Adjust YPos if image is interlaced
if(Interlace)//交织编码
{
YPos+=_aInterlaceOffset[Pass];
if((YPos-y0)>=Height)
{
++Pass;
YPos=_aInterlaceYPos[Pass]+y0;
}
}else YPos++;
}
return 0;
}
/*
函数功能: 恢复成背景色
函数参数:
x,y:坐标
gif:gif信息.
pimge:图像描述块信息
*/
void gif_clear2bkcolor(u16 x,u16 y,gif89a* gif,ImageScreenDescriptor pimge)
{
u16 x0,y0,x1,y1;
u16 color=gif->colortbl[gif->gifLSD.bkcindex];
if(pimge.width==0||pimge.height==0)return;//直接不用清除了,原来没有图像!!
if(gif->gifISD.yoff>pimge.yoff)
{
x0=x+pimge.xoff;
y0=y+pimge.yoff;
x1=x+pimge.xoff+pimge.width-1;;
y1=y+gif->gifISD.yoff-1;
if(x0<x1&&y0<y1&&x1<320&&y1<320)pic_phy.fill(x0,y0,x1,y1,color); //设定xy,的范围不能太大.
}
if(gif->gifISD.xoff>pimge.xoff)
{
x0=x+pimge.xoff;
y0=y+pimge.yoff;
x1=x+gif->gifISD.xoff-1;;
y1=y+pimge.yoff+pimge.height-1;
if(x0<x1&&y0<y1&&x1<320&&y1<320)pic_phy.fill(x0,y0,x1,y1,color);
}
if((gif->gifISD.yoff+gif->gifISD.height)<(pimge.yoff+pimge.height))
{
x0=x+pimge.xoff;
y0=y+gif->gifISD.yoff+gif->gifISD.height-1;
x1=x+pimge.xoff+pimge.width-1;;
y1=y+pimge.yoff+pimge.height-1;
if(x0<x1&&y0<y1&&x1<320&&y1<320)pic_phy.fill(x0,y0,x1,y1,color);
}
if((gif->gifISD.xoff+gif->gifISD.width)<(pimge.xoff+pimge.width))
{
x0=x+gif->gifISD.xoff+gif->gifISD.width-1;
y0=y+pimge.yoff;
x1=x+pimge.xoff+pimge.width-1;;
y1=y+pimge.yoff+pimge.height-1;
if(x0<x1&&y0<y1&&x1<320&&y1<320)pic_phy.fill(x0,y0,x1,y1,color);
}
}
/*
函数功能: 画GIF图像的一帧
函数参数:
gfile:gif文件
x0,y0:开始显示的坐标
*/
u8 gif_drawimage(FIL *gfile,gif89a* gif,u16 x0,u16 y0)
{
u32 readed;
u8 res,temp;
u16 numcolors;
ImageScreenDescriptor previmg;
u8 Disposal;
int TransIndex;
u8 Introducer;
TransIndex=-1;
do
{
res=f_read(gfile,&Introducer,1,(UINT*)&readed);//读取一个字节
if(res)return 1;
switch(Introducer)
{
case GIF_INTRO_IMAGE://图像描述
previmg.xoff=gif->gifISD.xoff;
previmg.yoff=gif->gifISD.yoff;
previmg.width=gif->gifISD.width;
previmg.height=gif->gifISD.height;
res=f_read(gfile,(u8*)&gif->gifISD,9,(UINT*)&readed);//读取一个字节
if(res)return 1;
if(gif->gifISD.flag&0x80)//存在局部颜色表
{
gif_savegctbl(gif);//保存全局颜色表
numcolors=2<<(gif->gifISD.flag&0X07);//得到局部颜色表大小
if(gif_readcolortbl(gfile,gif,numcolors))return 1;//读错误
}
if(Disposal==2)gif_clear2bkcolor(x0,y0,gif,previmg);
gif_dispimage(gfile,gif,x0+gif->gifISD.xoff,y0+gif->gifISD.yoff,TransIndex,Disposal);
while(1)
{
f_read(gfile,&temp,1,(UINT*)&readed);//读取一个字节
if(temp==0)break;
readed=f_tell(gfile);//还存在块.
if(f_lseek(gfile,readed+temp))break;//继续向后偏移
}
if(temp!=0)return 1;//Error
return 0;
case GIF_INTRO_TERMINATOR://得到结束符了
return 2; //代表图像解码完成了.
case GIF_INTRO_EXTENSION:
res=gif_readextension(gfile,gif,&TransIndex,&Disposal);//读取图像扩展块消息
if(res)return 1;
break;
default:
return 1;
}
}while(Introducer!=GIF_INTRO_TERMINATOR);//读到结束符了
return 0;
}
/*
函数功能: 退出当前解码
*/
void gif_quit(void)
{
gifdecoding=0;
}
/*
函数功能: 解码一个gif文件
函数参数:
filename:带路径的gif文件名字
x,y,width,height:显示坐标及区域大小.
*/
u8 gif_decode(const u8 *filename,u16 x,u16 y,u16 width,u16 height)
{
u8 res=0;
u16 dtime=0;//解码延时
gif89a *mygif89a;
FIL *gfile;
gfile=(FIL*)SRAM_Malloc(sizeof(FIL));
if(gfile==NULL)res=PIC_MEM_ERR;//申请内存失败
mygif89a=(gif89a*)SRAM_Malloc(sizeof(gif89a));
if(mygif89a==NULL)res=PIC_MEM_ERR;//申请内存失败
mygif89a->lzw=(LZW_INFO*)SRAM_Malloc(sizeof(LZW_INFO));
if(mygif89a->lzw==NULL)res=PIC_MEM_ERR;//申请内存失败
if(res==0)//OK
{
res=f_open(gfile,(TCHAR *)filename,FA_READ);
if(res==0)//打开文件ok
{
if(gif_check_head(gfile))res=PIC_FORMAT_ERR;
if(gif_getinfo(gfile,mygif89a))res=PIC_FORMAT_ERR;
if(mygif89a->gifLSD.width>width||mygif89a->gifLSD.height>height)res=PIC_SIZE_ERR;//尺寸太大.
else
{
x=(width-mygif89a->gifLSD.width)/2+x;
y=(height-mygif89a->gifLSD.height)/2+y;
}
gifdecoding=1;
while(gifdecoding&&res==0)//解码循环
{
res=gif_drawimage(gfile,mygif89a,x,y);//显示一张图片
if(mygif89a->gifISD.flag&0x80)gif_recovergctbl(mygif89a);//恢复全局颜色表
if(mygif89a->delay)dtime=mygif89a->delay;
else dtime=10;//默认延时
while(dtime--&&gifdecoding)delay_ms(10);//延迟
if(res==2)
{
res=0;
break;
}
}
}
f_close(gfile);
}
SRAM_Free(gfile);
SRAM_Free(mygif89a->lzw);
SRAM_Free(mygif89a);
return res;
}
【声明】本内容来自华为云开发者社区博主,不代表华为云及华为云开发者社区的观点和立场。转载时必须标注文章的来源(华为云社区)、文章链接、文章作者等基本信息,否则作者和本社区有权追究责任。如果您发现本社区中有涉嫌抄袭的内容,欢迎发送邮件进行举报,并提供相关证据,一经查实,本社区将立刻删除涉嫌侵权内容,举报邮箱:
cloudbbs@huaweicloud.com
- 点赞
- 收藏
- 关注作者
评论(0)