基于Java+SpringBoot+vue+elementui农产品物流系统详细设计实现《上》
一、前言介绍:
随着社会生活愈来愈好,民众对食品的要求和生活品质需求也在逐步提高。农产品物流作为进行农村生产资料流动和农业流通的必要手段,对我们国家农业生产与农民生活等诸多方面都有相当重要的作用。众所周知,我国既是一座农业人口强国,同时我国又是一座制造、贸易和消费农产品的工业强国。农产品生产经营管理的全面升级、农村产品和服务现代化大流通与城市大市场的合理衔接,是实现我国农业食品安全生产和全面农村现代化发展的重要保证。
走进二十一世纪,在各国对互联网及其相关信息技术的广泛普及和提升的大背景之下,中国的互联网信息技术更是飞速的发展了起来。随着互联网信息技术的快速发展,电子商务在各行业中迅猛开展。尽管在发展过程中遇到了许多挑战,但却为中国各产业提供了史无前例的机遇。在此情形下,各行各业争相发展互联网电子商务,不仅使商品销售形态更加多元化,同时使销售产品的服务范围也更为广阔化,而另外一个更为重要的优势便是电子商务的商产品能够突破不同地域之间存在的距离限制,从而进行资源共享。 由于我国的市场经济与发展环境对农产品依赖性比较强,所以农业作为我国的第一产业,在国民经济中的重要性有目共睹,而全面发展农村经济也是国家政府部门长期以来主要发展的责任与义务。随着互联网电商潮流的蓬勃发展,传统的农产品行业也搭上了发展的快车。“互联网+农业”成为当前农村经济发展的一个十分重要的方向,国家出台了一系列的政策全面促进了“互联网+农业”的蓬勃发展,而对于传统农产品生产行业依赖性偏大的地方的各级人民政府也都把农产品电子商务形式视为当地农产品生产行业和农产品贸易发展的一个重点发展的方向,也成为提高农民经济水平和进一步发展农村壮大区域经济的一条重要的渠道。在此背景下,传统农产品贸易主体以互联网电子商务形式进行贸易活动变得普遍起来,且参加的数量每年也呈现出大环比增长的态势,农产品电子商务的兴起与发展,对农产品贸易行业的发展与由其带动的相关产业的发展,提供了很大的助力。但在参与农产品电子商务的商家中了解一番之后,就会发现目前大多数的农产品电子商务商家目前都处于略亏损的状态,能够保持盈利状态的商家属于很少的一部分。其中一大部分原因是由于农产品物流配送的成本过高,所以农产品物流配送行业的发展是目前农产品电子商务产业发展的关键所在,是优化农产品电子商务必然趋势,为了当前的农产品电子商务产业整体的发展,只有借助互联网发展速度不断帮助改进提升农产品物流配送行业相关的能力。
目前,国内的农产品物流市场正在逐步走向完善,全国各地基本形成了从生产到收购到配送到销售的一体化组织环节。但总体上看,农产品物流体系发展由于各个地区经济上发展的不平衡,也呈现出同样不平衡的发展情势。国内从事农产品物流行业的主体也非常的多,既有国有企业、民营企业等大型的成规模的商业集团,也有农村生产户,农村协会等小规模组织。虽然我国从事农产品物流的主体很多,其中的一些大型企业也对行业的发展起到了很重要的作用,但许多参与的个体组织程度不够,规模也不大,使得其竞争力也偏弱,无法实现竞争优势。在物流的渠道上面,不仅有传统的业务做支撑,目前各家超市推出的生鲜模式,还有电商产品的火爆,也开发了行业的新赛道,使得农产品物流行业有了更加广阔的发展空间。
但我国农产品物流市场目前也遇到了自己的发展困境,有许多问题需要解决。由于中国农产品在目前的运输设施与手段相较于欧美发达国家来说还比较滞后,交通运力和仓库的存储条件不能满足当前市场的需要。由于我国农业生产目前仍然是以家庭承包型的生产方式为主,不是类似美国的大农场生产方式,导致我国目前的农业生产群体庞大。这些农户又居住分散,沟通不太方便,使得我们对于农产品信息搜集很困难,信息化速度很慢。物流技术也比较落后,农产品保鲜对于冷链技术的要求很高,农产品标准化处理也要成规模的大型企业牵头。分散的物流方式又使得物流成本偏高,使得进行物流作业的主体风险相应增大。
二、系统设计:
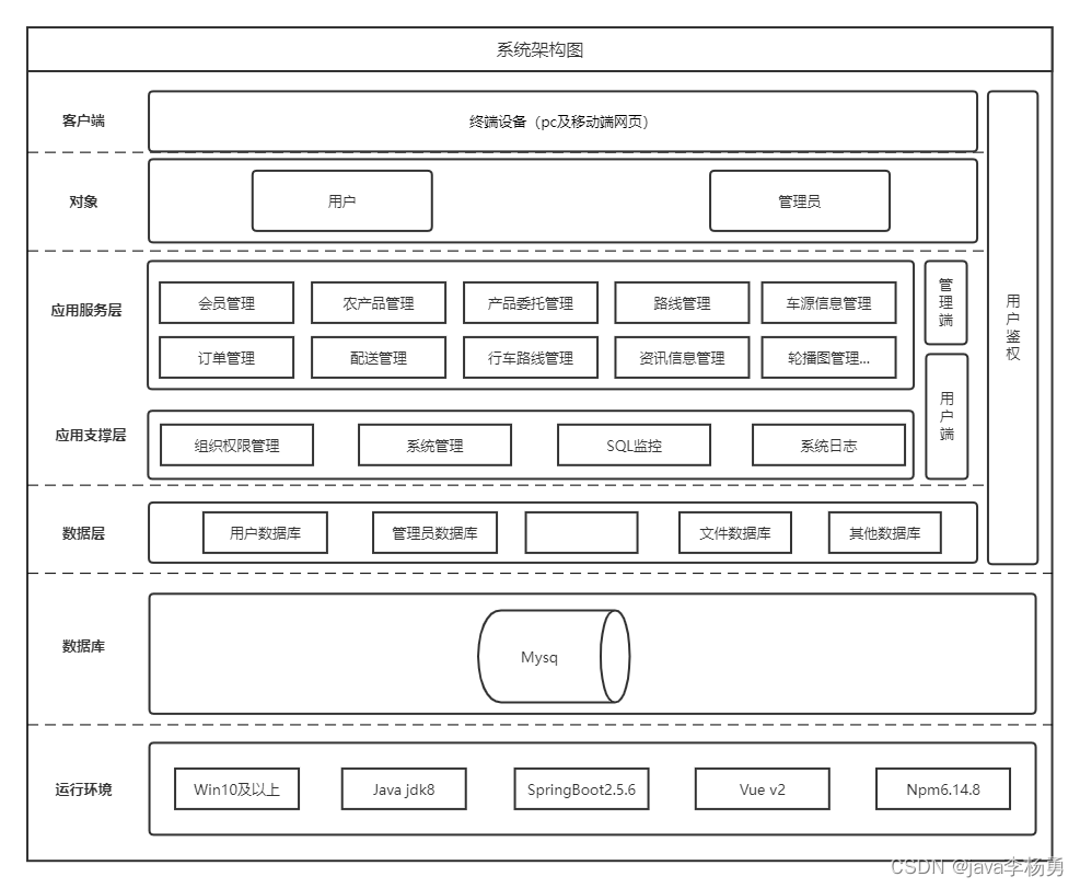
2.1 系统架构设计:
农产品物流配送系统使用的是B/S架构模式,即浏览器和服务器架构模式开发模式进行开发。现在这种体系结构是当前主流的、可以理解为是对 C/S 架构体系结构的改变和促进,以前C/S模式架构需要安装本地程序、这样的话系统的扩展以及移植行都比较差、B/S架构模式可以进行后面的系统信息分布式处理和结构维护,这样的话系统的维护资源成本就降低了,也提高设计的系统性能以及看扩展性。在这种架构下,前端负责样式代码的编写和接口的对接、后端主要负责事务逻辑的处理以及流程信息的控制。系统的前端表现层样式是展示给用户前端可以直接观看的效果,用于显示渲染数据和接收后台传递的的数据、根据请求提交之后、交给系统后台进行业务逻辑处理,目前系统设计采用了HTTP/HTTPS协议通信模式、AJAX请求、以及和一些需要常用API方法组件、系统的控制层主要负责从前端发送HTTP请求中获取参数信息降请求提交到后台controlle控制层,控制层注入处理服务(service层)、并将其分发给不同的处理服务(service层),调用数据库底层执行SQL的一系列操作、然后向前端返回service层处理后的数据、返回的都是json格式的数据结果集、前端根据结果集进行数据渲染和前端的展示、系统的业务逻辑层将用户的输入信息进行甄别处理、实现具体的功能业务逻辑实现,以及对SQL数据的访问;系统的数据访问层主要负责操作数据,为业务层或控制层提供数据服务服务;实现具体的业务都需要以数据为支撑,需要记录信息才能实现业务

2.2 系统整体架构:

2.3 系统功能结构图:

- 点赞
- 收藏
- 关注作者
评论(0)