Linux系统中网络协议和网络配置文件的介绍
前言
说明:本人只在csdn学博客,如果在其他网站上看到,请不要信
一.网络协议介绍
1.1 网络协议的概念
网络协议是网络上所有设备(网络服务器、计算机及交换机、路由器、防火墙等)之间通信规则的集合,它规定了通信时信息必须采用的格式和这些格式的意义。大多数网络都采用分层的体系结构,每一层都建立在它的下层之上,向它的上一层提供一定的服务,而把如何实现这一服务的细节对上一层加以屏蔽。
1.2 TCP/IP协议
TCP/IP字面上代表了两个协议:TCP(传输控制协议)和IP(网际协议)。1983年1月1日,在因特网的前身(ARPA网)中,TCP/IP协议取代了旧的网络控制协议(NCP,Network Control Protocol),从而成为今天的互联网的基石。

1.3 常见的网络应用协议
1.3.1 HTTP协议
超文本传输协议(HTTP,HyperText Transfer Protocol)是互联网上应用最为广泛的一种网络协议。所有的WWW文件都必须遵守这个标准。
设计HTTP最初的目的是为了提供一种发布和接收HTML页面的方法。1960年美国人Ted Nelson构思了一种通过计算机处理文本信息的方法,并称之为超文本(hypertext),这成为了HTTP超文本传输协议标准架构的发展根基。

1.3.2 DNS协议
- DNS是域名系统(DomainNameSystem)的缩写,该系统用于命名组织到域层次结构中的计算机和网络服务。
- 域名是由圆点分开一串单词或缩写组成的,每一个域名都对应一个惟一的IP地址,在Internet上域名与IP地址之间是一一对应的,DNS就是进行域名解析的服务器。
- DNS命名用于Internet等TCP/IP网络中,通过用户友好的名称查找计算机和服务。DNS是因特网的一项核心服务,它作为可以将域名和IP地址相互映射的一个分布式数据库。
1.3.3 FTP协议
- FTP(File Transfer Protocol,文件传输协议) 是 TCP/IP 协议组中的协议之一。
- FTP协议包括两个组成部分,其一为FTP服务器,其二为FTP客户端。其中FTP服务器用来存储文件,用户可以使用FTP客户端通过FTP协议访问位于FTP服务器上的资源。
- 在开发网站的时候,通常利用FTP协议把网页或程序传到Web服务器上。此外,由于FTP传输效率非常高,在网络上传输大的文件时,一般也采用该协议。
1.3.4 Telnet协议
- Telnet协议是TCP/IP协议族中的一员,是Internet远程登陆服务的标准协议和主要方式。它为用户提供了在本地计算机上完成远程主机工作的能力。
- 在终端使用者的电脑上使用telnet程序,用它连接到服务器。终端使用者可以在telnet程序中输入命令,这些命令会在服务器上运行,就像直接在服务器的控制台上输入一样。可以在本地就能控制服务器。
- 要开始一个telnet会话,必须输入用户名和密码来登录服务器。
- Telnet是常用的远程控制Web服务器的方法。
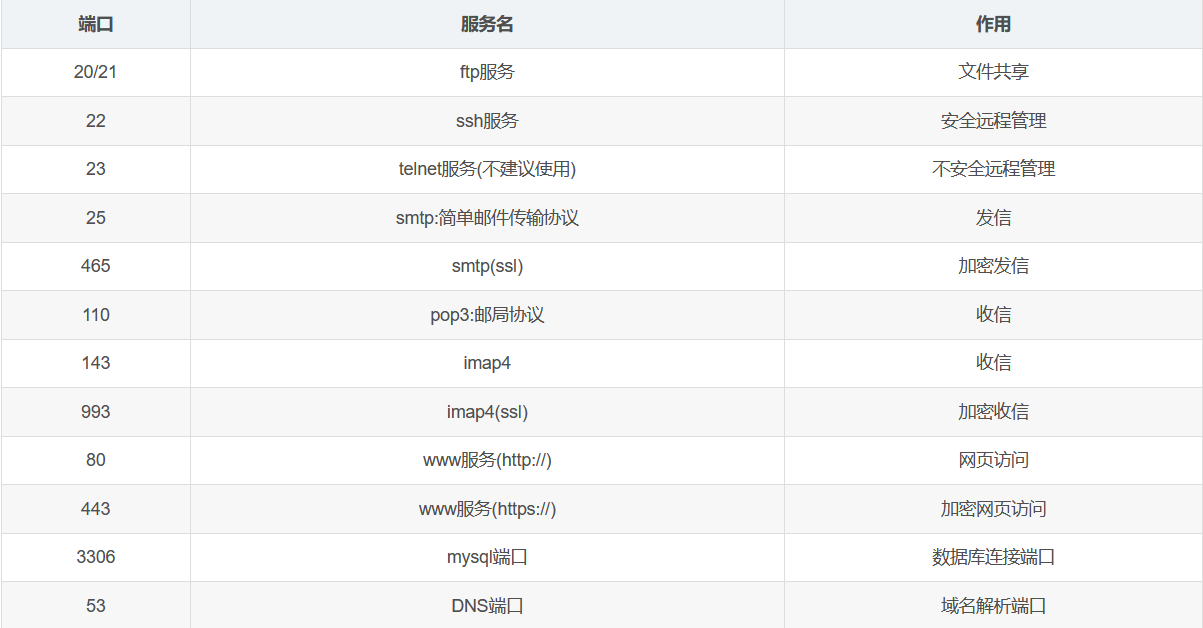
1.3.5 更多常用协议

二.网络配置文件介绍
2.1 配置文件介绍
在RHEL或者CentOS等Redhat系的Linux系统里,跟网络有关的主要设置文件如下:

2.2 网络接口配置文件介绍
- 使用
ip addr可以查看网络接口的IP地址,但是这些ip地址是如何设置的?Linux环境中一切皆是文件,所以配置信息也是存放在文件中的。

-
进入Linux环境中,在
/etc/sysconfig/network-scripts/目录中有很多跟网络相关的脚本文件,其中就有网络接口配置文件ifcfg-网络接口名称。

| 文件 | 意思 |
|–|--|
|ifcfg-lo| 是环路地址的配置文件 |
|ifup|是开启网络接口的脚本文件 |
|ifdown| 是关闭网络接口的脚本文件| -
打开
/etc/sysconfig/network-scripts/ifcfg-eno**网络接口配置文件,可以看到里面有许多配置项目。

其他配置项:
| 命令 | 作用 |
|---|---|
DEVICE=<name> |
<name>表示物理设备的名字 |
IPADDR=<address> |
<address>表示赋给该网卡的IP地址 |
NETMASK=<mask> |
<mask>表示子网掩码 |
BROADCAST=<address> |
<address>表示广播地址 |
GATEWAY=<address> |
<address>表示默认网关 |
MACADDR=<MAC-address> |
<MAC-address>表示指定一个MAC地址 |
USERCTL=yes/no |
是否允许非root用户控制该设备 |
DNS1=<address> |
<address>表示DNS服务器地址 |
2.3 主机名称配置文件介绍
/etc/hostname文件中放置的是系统的主机名称,默认情况下Linux环境的主机名称为localhost.localdomain。

2.4 地址解析配置文件介绍
/etc/host.conf是用来配置域名服务客户端的控制文件,主要内容如下:
这个文件一般不需要我们修改,默认的解析顺序是本地解析,DNS服务器解析。也就是说在本系统里对于一个主机名首先进行本地解析,如果本地解析没有,然后进行DNS服务器解析。
- multi on :允许主机拥有多个IP地址
- order hosts,bind :主机名解析顺序,即本地解析,DNS域名解析的顺序
-
/etc/hosts是完成主机名映射为IP地址的具体信息文件,主要内容如下:127.0.0.1localhost localhost.localdomain localhost
::1localhost6.localdomain6 localhost6可见,默认的情况是本机ip和本机一些主机名的对应关系,第一行是ipv4信息,第二行是ipv6信息,如果用不上ipv6本机解析,一般把该行注释掉。
-
/etc/resolv.conf是指定域名解析的DNS服务器IP等信息的配置文件, 配置参数一般接触到的有4个:
-
nameserver指定DNS服务器的IP地址 -
domain定义本地域名信息 -
search定义域名的搜索列表 -
sortlist对gethostbyname返回的地址进行排序
但是最常用的配置参数是
nameserver,其他的可以不设置,这个参数指定了DNS服务器的IP地址,如果设置不正确,就无法进行正常的域名解析。
2.5 实训
找到centos 7 Linux环境中的网络接口配置文件位置,打开看一下有没有IP地址的相关配置。查看自己的主机名称。



更多Linux学习可以看以下链接:
请给我点个赞鼓励我吧

- 点赞
- 收藏
- 关注作者

评论(0)