进程数据结构
【摘要】
特此说明: 刘超的趣谈linux操作系统是比较重要的参考资料,本文大部分内容和所有图片来源于这个专栏。
00、基本概念
在Linux里面,无论是进程,还是线程,到了内核里面,我们统一都叫任务...
特此说明: 刘超的趣谈linux操作系统是比较重要的参考资料,本文大部分内容和所有图片来源于这个专栏。
00、基本概念
在Linux里面,无论是进程,还是线程,到了内核里面,我们统一都叫任务(Task),由一个统一的结构task_struct进行管理。

01、分析task_struct
对源码检索stask_struct关键字,发现文件include/linux/sched.h有这个结构体定义,结构非常长。下面借用专栏中总结的框图

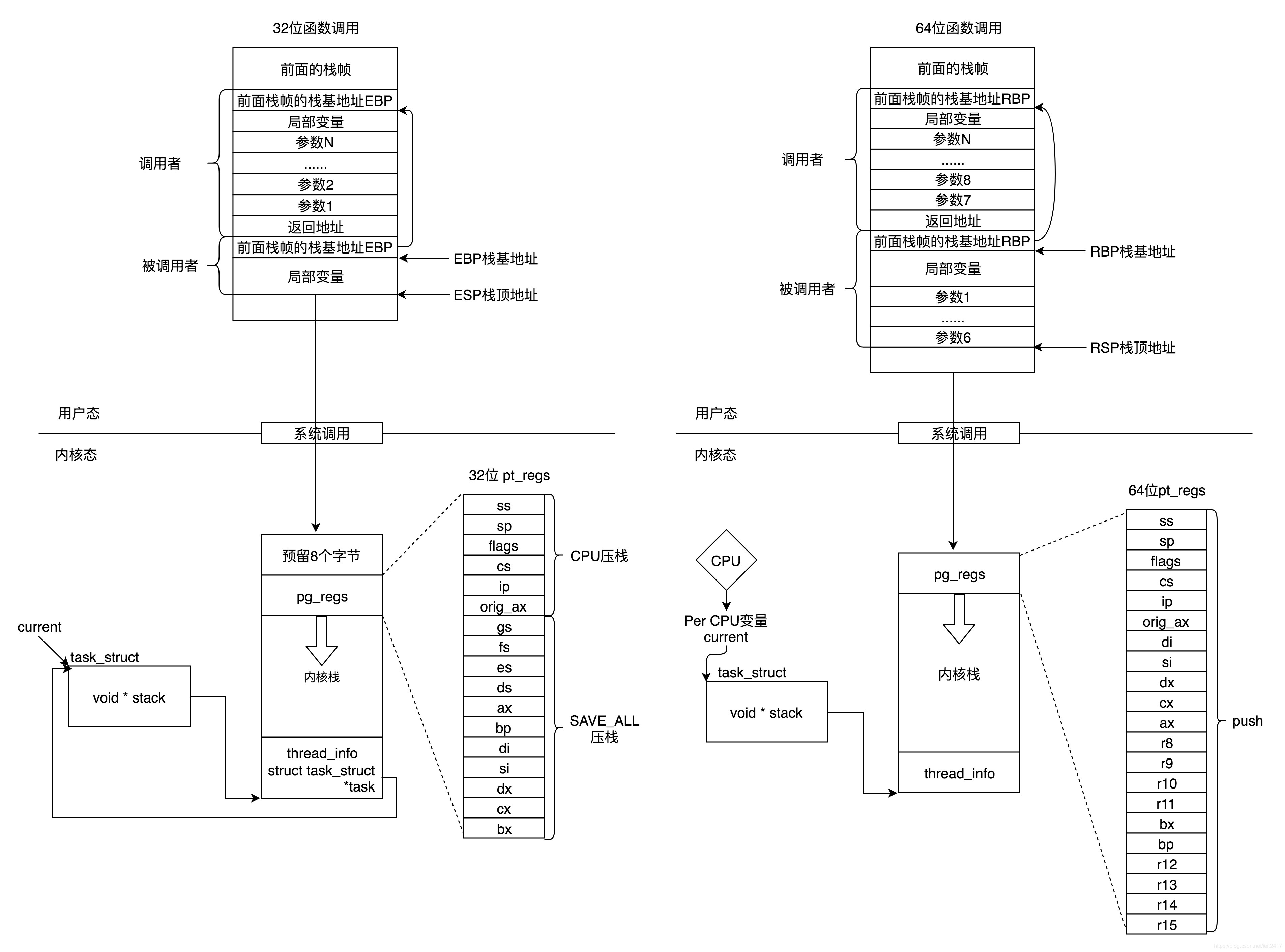
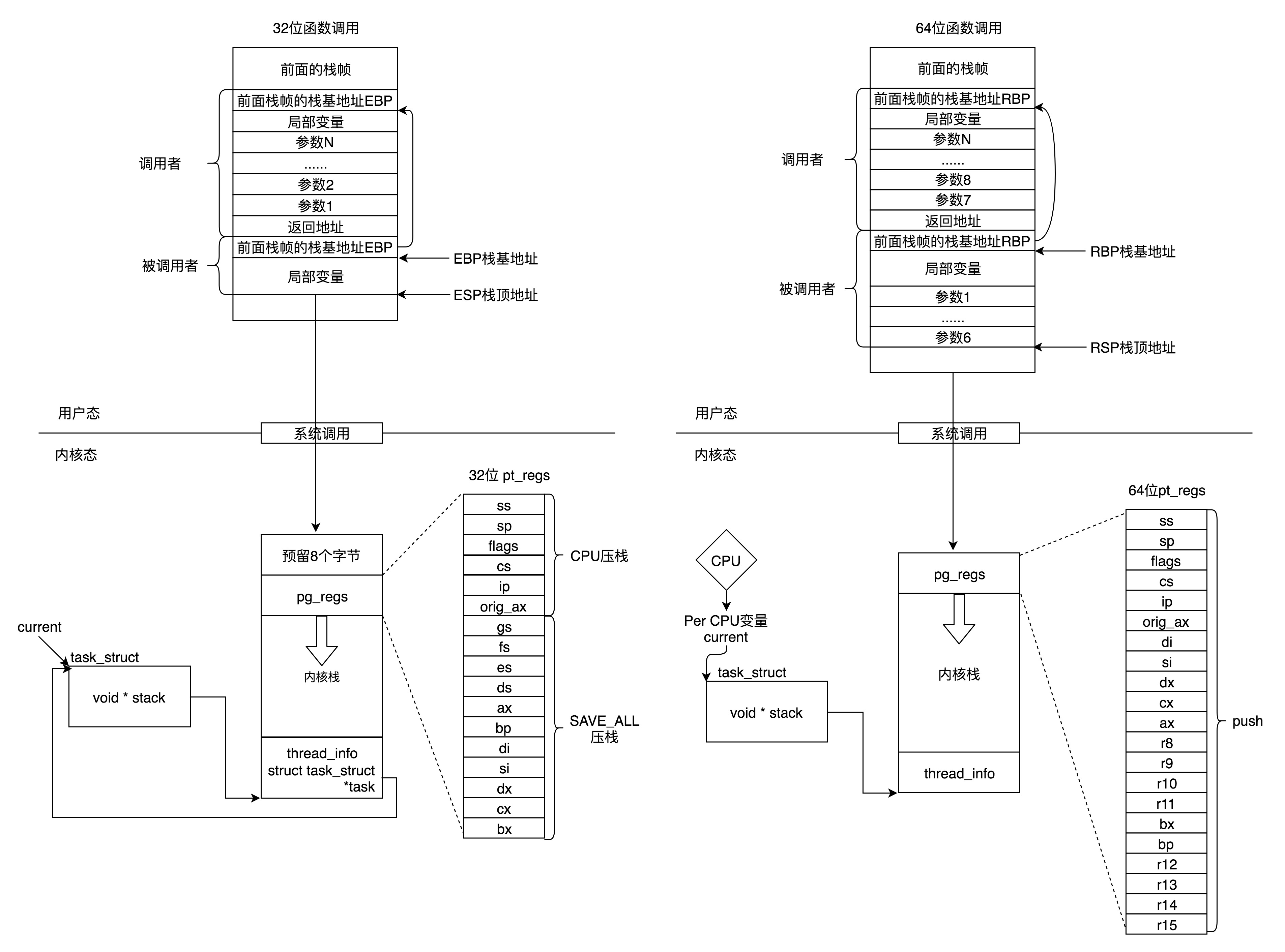
02、用户栈和内核栈
检索源码,对于32位系统内核栈的定义arch/x86/include/asm/page_32_types.h, 64位系统的内核栈定义在arch/x86/include/asm/page_64_types.h

03、系统上查看进程信息
可以通过/proc/pid下的文件查看进程的相关信息。或者直接通过一些常用命令,比如
ps查看进程pstree查看进程的依赖关系lsof命令用于查看你进程开打的文件,打开文件的进程,进程打开的端口(TCP、UDP)。找回/恢复删除的文件。和fuser命令用于报告进程使用的文件和网络套接字。
参考资料
文章来源: blog.csdn.net,作者:hinzer,版权归原作者所有,如需转载,请联系作者。
原文链接:blog.csdn.net/feit2417/article/details/105526283
【版权声明】本文为华为云社区用户转载文章,如果您发现本社区中有涉嫌抄袭的内容,欢迎发送邮件进行举报,并提供相关证据,一经查实,本社区将立刻删除涉嫌侵权内容,举报邮箱:
cloudbbs@huaweicloud.com
- 点赞
- 收藏
- 关注作者
评论(0)