华为云DevOps系列之——华为云端到端 DevOps 实践
【摘要】 华为云DevOps系列之——华为云端到端 DevOps 实践
华为 30 年研发模式演进

- 华为是 87 年创建的,那时候做软件开发用的都是
瀑布流 - 到了 2000 年左右,引进了
IPD开发模式,这个模式用了很久,降低了研发费用的同时提高了效率 - 10 年前后,
CI、CD的理念传播过来,开始采用其中的一些原则,改变了开发方式 - 后来
DevOps的理念也传播过来了,华为不同的部门根据自己的业务情况,逐渐转型微服务化、云原生、使用容器等多项最佳实践
多种商业模式敏捷 & DevOps 转型匹配

- 这里有一个问题:华为用的就是 DevOps 方式吗?其实我们并不能一概而论,因为采用什么开发方式是和商业模式挂钩的,特别是像华为这样一个大体量公司来说,不同的部门、不同的业务情况是采用不同的研发模式的,所以我们现在将其剥析开发,看看它有哪些商业模式
- 卖产品
- 软件:TTM 缩短驱动力(3~6月)
- 硬件:版本火车模式(6~12月)
- 卖服务:DevOps(周~1月)
- 卖产品
- 所以我们可以看到并不是说整个华为都在用 DevOps
华为云 DevCloud 团队的规模化成长历程

- 华为云 DevCloud 是华为对外开放出来的开发者工具。这个工具原本是内部使用的,后来慢慢转为商用,并且根据市场需要增加功能,团队也在逐渐扩大。上图为华为云 DevCloud 团队的规模化成长历程
- DevCloud 发展历程
- 2015.07 公测:只提供项目管理、代码托管、编译构建服务
- 2016.09:正式发布
- 2016.12 1.0 版本:增加代码检查、部署服务、发布服务,代码托管等功能
- 2017.09 2.0 版本:移动应用测试发布、Wiki 特性发布、文档管理特性发布
华为云实现全流程 DevOps 平台

- 通过华为云 DevCloud 实现全流程 DevOps,包括从需求规划到开发、测试、发布、运维、运营、反馈,整个这一套流程,至今包括超过 15 个服务,实现端到端的 DevOps
华为云支撑企业数字化转型

- 企业数字化转型是一个复杂的系统工程,涉及到研发流程、研发模式、商业模式、组织和文化的变化,不是一蹴而就的事情。要通过小步快跑、持续迭代、平滑演进、持续改进,这种方式来推进
- 华为云支撑数字化转型步骤
- 从产品的研发到业务及最后的运维运营,全打通实现端到端的闭环
- 拆分微服务化,每一个子业务都可以根据实际需要进行独立发布和维护
- 全行业场景应用汇聚,业务上云平滑演进。这一步常面临的问题是缺少统一的设备信息集成途径,数据格式多样化,难以传输和集成,缺少与合作伙伴分享数据和后端服务的便捷途径,缺少云上云下跨网络的安全信息通道。通过 ROMA 平台,聚焦应用和数据链接,适配多种企业常用的使用场景,它可以提供轻量化信息、数据、API、设备等集成能力,简化企业上云,支持云上云下、跨区域集成
DevOps 全流程交付模式

- 首先看流水线:从源代码到构建,不同环境的部署、测试,最后发布到生产环境,这条线都提升到流水线上,看着很简单,但涉及到的开发活动一点都不简单
- 研发活动:代码管理,二进制软件包构建,功能、性能等安全验证
- 各级门禁控制质量的参与的角色有三个
- SDE(开发):开发团队参与整个过程的所有环节,包括微服务自己的功能测试及集成测试部分
- I&V(测试):测试团队主要参与的是安全、可靠性等测试
- SRE:从类生产开始介入
- 迭代过程:需求分析、设计到编码,编码完毕之后,每一天代码都提交主干一次,并做完微服务的自验并要求通过质量门禁,通过测试的代码要发布到生产环境需要的时间是
小时级
规划与设计
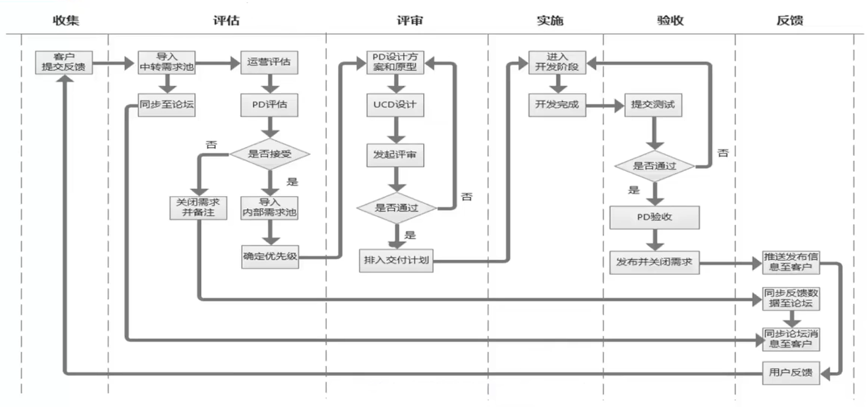
需求管理部分

- 先从各个渠道收集需求,然后由产品经理评估是否接受,然后由 UCD(User Centered Design) 进行设计,设计完进入评审,评审通过后排入交付计划,然后进行开发、测试、发布到生产给客户使用,最后收集客户的反馈信息再回到收集阶段,帮助产品经理做下一轮的以及未来产品的设计
需求流动过程管理

- 上图为一个漏斗来展示上面提到的过程,蓝色部分为评审或澄清的步骤,
评估优先级是非常重要的,因为需求来源太多,产品经理需要评估出哪些需要做、哪些需要先做 - 需求优先级排序:业务优先级
- 问题 > 需求
- 解决方案需求 > 产品需求
- 跨服务依赖需求 > 独立需求
- 清晰需求 > 不清晰需求
- UCD 完成需求 > UCD 等待需求
- 80% 功能需求 + 20% 体验需求
- 价值用户需求 > 普通用户需求
- 通用需求 > 定制需求
需求分层管理

- 需求分层管理
- 主要分成业界通用的 Epic、Feature、Story 三个需求层级
- 视情况允许独立的 Story 存在,不是非要分解出三级需求,大部分的需求都是直接以 Story 分发
- Story 拆分过程中要符合
INVEST原则- Independent(解耦):尽可能拆分独立的用户故事,尽量避免依赖
- Negotiable(易交流):使用用户语言描述,让用户、产品、开发、测试各角色方便理解交流
- Valuable(传递价值):用户故事要关注带来的用户价值或解决的问题,而不仅仅是功能
- Estimable(易估算):足够小和清晰让开发、测试都容易评估工作量、优先级
- Small(足够小):用户故事要在1个迭代内可以被完成,有助于小批量开发和交付和响应变化
- Testable(可测):用户故事应该包含一个可被测试和验收的小场景,否则无法确认其完成时间
- 任务允许以 Story 直接分发,不是一定要拆分出 Task
- 需求分层责任划分
- PD(产品负责人):负责维护 Epic、Feature、Story,应用于产品 backlog 和迭代 backlog
- SL(Servers Leader):关注进入迭代的 Story 分配及 Task 拆解,关注交付优先级,关注技术和方案层面的任务和对交付的影响
- Developer(Test):关注迭代中分配到的 Story 和 Task 的评估、方案和开发交付,完成后要修改对应状态
华为敏捷项目管理 Scrum 框架

- 华为敏捷项目管理流程,基于 Scrum 框架进行交付侧扩展
- 融合了 DevOps 的新型敏捷模式强调持续交付 CD(包含持续构建、测试、以及持续部署、发布、反馈),加速了产品推向真实用户,并及时获得海量反馈的决策数据源,比仅仅依靠 PO 或者少数粉丝用户反馈的决策准确率大为提升
- 整个框架的运作流程如下:
- 首先,PD(产品负责人)会从用户、一线运维团队等等去收取反馈信息,他基于这一反馈信息去做决策,制作出产品代办列表,做出发布计划,在每一次迭代的时候选取最高优先级的需求,生成迭代待办列表,在迭代会议上,团队在待办列表中选取、认领需求
- 进入每周迭代开发后,每天都会有站会去沟通当前的进展(需要注意,回顾会议是不定期进行开展,项目团队比较成熟的时候开的频率会相对低一些)
- 每一周开发完毕之后产生的都是经过测试的代码,然后这些代码可能会根据业务情况来决定是否直接发布生产,往往会先将这些代码发布到内部的不同环境,比如经过 α 环境、β 环境的测试之后,将代码部署到内部的使用环境,DevCloud 团队将自己先使用这些新功能
- 在工作过程中,每当一个团队有新的功能在内网发布的时候,都会通知整个团队,欢迎大家去测试反馈
- 经过 PD 验收,推送到生产环境给客户使用
- 最后上到生产之后,再通过一些渠道获取用户反馈给到产品经理
团队 - 重塑角色设置,拥抱敏捷和 DevOps

- 以 SA、PD、SL 形成的铁三角
- 交付以
服务为中心,而不是以项目为中心 - PD:Product Owner,产品负责人/产品经理:负责产品规划、设计、分析
- SA:负责客户场景及解决方案,跟客户沟通,获取一些反馈和帮助客户解决一些问题
- SL:微服务/特性经理Service Leader,兼任敏捷Scrum Master,带领团队进行开发
- Sponsor:干系人(项目/业务/服务)
- UE:UCD(User Centered Design)工程师,负责用户研究、交互设计、美工、视觉
- SE:技术leader,系统工程师,负责架构、系统设计
- 开发:负责代码实现
- 测试:负责测试验证
- 运维:负责部署、发布、运维、监控
- 上述这些并不是具体的某些角色,而是
工作。比如有测试工作、开发工作,并不代表团队里面有专门的开发人员或专门的测试人员,并不是说每个团队里面一定要有某一个角色去做开发或者做测试,而是一定要有这个工作,,也许开发人员同时做着开发和测试的工作,或者说在 DevOps 中,开发人员常常是开发、运维、测试三个事情都能一起做
团队 - 逐渐转型为自主经营的全功能团队
- 集中决策(2015年之前)
- 开发的工具内部使用
- 使用瀑布开发模式
- 组织架构是职能团队,
- 决策由项目经理一人制定
- 启发式决策(2015~2016)
- 转为商用
- 单一决策组织结构有深井式问题,沟通效率低,无法适应市场要求,转为启发式决策
- Core Team:核心团队共同决策
- 每个微服务包括全职能团队和单独的产品经理
- 应对市场更加灵活
- “自主生长”(2017年之后)
- 之前的启发式决策灵活度还是差一点
- 完全自主的团队,彻底的去中心化,每个服务都由团队自主决策
- 响应市场更加灵敏
开发与集成
架构解耦是敏捷的保障
- 架构与系统解耦,做到组件化,乃至微服务化:实现松耦合,可并行开发、构建、测试、部署、运行的最小可运行产品/特性
- 需求分解的原则:需求分解遵循
小步快跑,同一个特性可以由多个迭代 story 逐步演进,从简单可用、到功能完善 - 演进过程
- 最开始前后台开发人员各为一组,每次更新的时候,前后台将各自需求更新出来,然后将代码合到一起
- 服务化改造:使用云化产品交付模式,以一个周期(一到两周)为版本火车一起发布
- 微服务化,每一个服务包含前后台开发,并和其他服务间彻底解耦,产品功能比较完善,团队 DevOps 能力也有

DevCloud 能力构建
- 一个中心,三个要素
- 价值交付为中心:是否采用云原生由
业务决定,合适的情况下才使用 - 架构、组织、工程三个要素
- 价值交付为中心:是否采用云原生由
- 架构
- 采用服务化架构/微服务架构实现全面解耦
- 通过API,采用云原生公共服务提供的基础能力和架构能力
- 使用自服务、敏捷的云化基础设施服务
- 工程
- 系统与环境、流程、配置解耦
- DevOps 实现运维和开发互相融合
- 实践极速迭代,持续交付,快速响应业务变化,缩短 TTM
- 组织
- 全功能团队
- 云化运维团队
CodeHub 代码管理
- 代码在线检视
[外链图片转存失败,源站可能有防盗链机制,建议将图片保存下来直接上传(img-sGcKdjsU-1635058053402)(https://files.mdnice.com/user/1631/c45c7e55-464a-4b02-8516-dd497a2b9e02.png)] - 设置代码合入门禁,必须达到最低评分才能合入

- 在线比较差异,对代码行给出评审意见

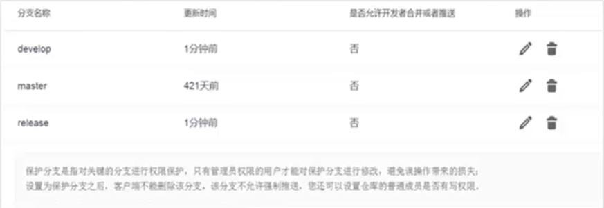
- 设置分支保护策略,代码必须检视才能入库

分支管理

- 生产环境使用 master 分支,每个人在开发的时候由 master 分支直接拉出来特性分支(feature)进行开发,开发完毕之后,合并到之前 master 拉出来的 develop 分支(从特性分支合并到开发分支)。如果代码提交到 develop 分支的时候通过了测试,代码可以继续选择向发布分支(release)上进行合并,从 release 分支可以进一步提交到 master 分支;如果向 develop 分支合并的时候测试没有通过,回到自己的特性分支继续测试,直到测试通过再提交
- 过程(feature -> develop -> master)不是强制的,比如说 feature 分支可以直接合并到 master 分支
- 如果生产环境发生了严重的 Bug,需要紧急修复的话,增加一个临时的紧急修复分支(hotfix),从生产环境的 master 拉取代码过来修复 Bug,测试通过之后将 hotfix 分支代码提交到生产环境,通过将此更新拉回到开发分支(feature)
微服务 API 设计
- 可通过 APIManager 进行接口在在线设计与评审,生成在线接口文档,自动识别接口变更,借助基于API的契约测试加强团队协作效率,减少依赖问题
- 基于 API 的契约测试

测试与反馈
DevCloud 敏捷测试实践
- 构建 CloudNative 测试能力,实现测试活动解耦,在线业务测试与监控
- 主要含以下几个方面
- 分层流水线
- 通过个人级、服务级、产品级分层自动化流水线来分层确保质量
- 提升功能/安全/性能/可靠性自动化测试覆盖情况
- 利用自动化技术,提升用例执行效率与稳定性,监控反馈流水线各测试环节执行效率
- 质量门禁
- 不合格的制品无法流入下一环节
- 让流水线来拦截问题,让自动化门禁代替人工管理
- 分层门禁,规则自定
- 在线测试
- 在线业务测试,对生产环境业务主线与重点功能持续在线测试,先于用户发现业务异常并告警
- 在线体验巡视,每日生产环境巡视 E2E 主线场景体验
- 在线 7x24 监控,错误事务和运行异常对比分析告警推送
- 可视化
- 测试过程可视化,让质量暴露在阳光下
- 团队所有成员知道项目的质量,促进团队成功
- 分层流水线
DevCloud 持续交付场景
- 流水线分层详细描述

- 开发环境(Alpha):每个微服务每个 story 独立开发,测试通过后合并到 develop 分支
- 服务级流水线(Beta):所有人在本地开发测试通过的代码都集成到 develop 分支,然后运行集成角度的流水线(Beta)
- 产品级流水线(Gamma):服务级流水线测试通过后,代码合并到 master 分支,即主干代码,并在类生产环境(Gamma)进行测试,测试通过后,在业务需要的情况下,将代码推送到生产环境,运行生产环境升级流水线
个人级流水线的质量活动

- 个人级流水线从开发、alpha 环境至 beta 环境,对应微服务个人或特性分支
- 代码检查门禁
- 指定检查规则的问题数为 0
- 单元测试门禁
- 方法覆盖率达标
- 行覆盖率达标
- 安全扫描门禁
- 问题数为 0
- 接口测试门禁
- 测试通过率达标
- 测试覆盖率达标
服务级流水线的质量活动

- 服务级流水线从 alpha 环境至 beta 环境,对应微服务版本分支
- 单元测试门禁
- 方法覆盖率达标
- 行覆盖率达标
- 安全扫描门禁
- 问题数为 0
- 接口测试门禁
- 测试通过率达标
- 测试覆盖率达标
- 浏览器兼容性测试门禁
- 问题数为 0
- 性能测试门禁
- TPS、RT达标
产品级流水线的质量活动

- 产品级流水线从 gamma 环境至生产环境,对应微服务版本主干
DevCloud 自动化代码检查
- 常见代码问题
- 编码风格:方法圈复杂度、Java 编码风格等
- 编码正确性:空指针引用、资源泄露、除零、类型转换异常等
- 编码安全:SQL 注入等
- 编码性能:字符串拼接使用+、锁内调用 sleep 等
- 多线程:编程安全问题等
- 其他:代码坏味道等
- 代码检查的作用
- 发现问题
- 问题原因说明
- 修改建议
- 正确示例、错误示例


测试环节效果对比

安全与审计
基于 DevOps 流水线,全流程保障网络安全
- 基于 DevOps 流水线,全流程保障网络安全,持续提升安全设计、编码、测试、运维能力
- 安全设计
- 构建网络分区、分层管理,管理面/业务面分离、执行节点独立 VPC、OS/中间件/业务框架
多层安全防护体系 微服务安全设计、威胁建模,落入微服务发布签发项,保障系统架构与需求设计充分考虑安全- 基于威胁点开展
TMBT测试,通过 projectMan 服务来跟踪问题闭环
- 构建网络分区、分层管理,管理面/业务面分离、执行节点独立 VPC、OS/中间件/业务框架
- 安全编码
- 构筑安全稳固的研发服务框架,引入公司
安全框架 WSF、WCC 流水线集成 CodeDex 工具与安全代码检视门禁- 整改原生开源组件 5000+ 安全问题,规范规则满足度 100%
- 定期全员网络安全培训,覆盖网络安全红线与 TopN 典型问题
- 构筑安全稳固的研发服务框架,引入公司
- 安全测试
- 深入
黑客视角E2E 渗透测试,挖掘深层次威胁 - 加强
源码审计能力与引入业界新安全测试工具 - 建立微服务
流水线安全自动化验证能力,固化公司安全红线与 TopN 问题落入自动化用例管控
- 深入
- 安全运维
- 基础组件
一键式自动化安全加固、自动化安全巡检、数据定时备份 - 基于公司红线与公有云运维合规性要求,排查风险隐患,并建立自动化机制,遵从度提升至 100%
- 生产环境引入
网络安全能力 WAF安全防护网,有效检测防控现网应用层攻击 - 7x24 小时日志异常告警、系统监控告警
- 基础组件
开源 & 第三方组件自检

- 严格遵照先申请后使用要求,使用的时候先从内部的组件系统里提取地址来使用,如果组件的来源不是内部的 PDM 系统的话,还需要申请将其评审加入内部系统使用
- 整套流程确保使用的安全组件都是经过严格审批的,这样可以避免使用了有不明组件、以及那些有缺陷的版本
部署与发布
DevCloud 自动化快速部署

- 部署应用到物理机、虚机、容器
- 支持将应用部署到物理机,虚拟机,容器,即使是用户私有的物理机,虚拟机,容器集群,只要能连通就能进行部署;并且主机部署还支持以代理机的方式进行部署
- 支持多种技术栈应用的部署
- 支持 tomcat, springboot, nodejs 等多种技术栈应用的部署,提供通用模板比如 springboot, tomcat 等方便用户创建部署任务,并支持用户自定义模板,提供 25+ 原子步骤组装成部署任务
- 支持与流水线集成打通部署流水线
- 在流水线能关联部署任务,并可以通过流水线关联构建,代码检查,测试等服务,实现端到端的 DevOps 流程
DevCloud 自动化快速发布

- 软件包资产的可视化管理和追溯
- 流水线:打通从代码提交至服务上线自动化流水线,代码提升至生产上线最快X小时
- 支持产品版本内建出口质量标准,流水线门禁集中管理,提升版本出口质量
- 关键环节的自动化质量门禁策略
DevCloud 全流程版本追溯

- 迭代计划、发布、以及版本号命名:每周一个迭代,可以多次发布
- 版本追溯:现网服务节点的版本可见,并可追溯该版本的发布、软件包、构建记录、验证记录、已经代码仓库中的每次提交
DevCloud 版本发布质量控制

- 基于 DevOps 流水线,构建 E2E 自动化测试能力
- 质量门禁管控研发过程质量,在线测试持续先于用户发现现网问题
运维与监控
基于 SRE 运维框架体系的运维保障

- 基于SRE运维框架体系要求,具体化软件开发云一二三线运维支撑体系
- 原则一:统一一线
- 客服、技服、操作中心、监控中心统一
- 各服务产品不自建,且需要进行培训赋能
- 原则二:共建二线
- 服务 On-Call 接口组人员需要稳定,如需更换,需要获取 SRE 团队批准
- 原则三:体系遵从
- 服务 On-Call 人员、接口人员、开发人员,如需在云现网进行相关工作,需完全遵守 SRE 运维框架体系相关规定
自动化运维
- 业务支撑
- SSL 证书监控系统
- DB 观象台
- 业务版本管理系统
- 审批系统
- 变更管理系统
- 堡垒机登录系统
- 工单系统
- 灰度发布引擎
- 配置管理
- 自助服务
- 监控服务
- 服务健康度
- 故障自愈
- 故障处理
- 监控大屏
- 调用链
- 性能
- 基本监控
- 基础环境运维
- 安全基线系统
- 密码修改系统
- 一键扩容减容
- 自助开局
- 资源管理
- 数据分析
- 现网问题分析系统
- 日志检索分析
- 容量平台
- 业务运营
运维管理平台能力
| 能力项 | 详细说明 |
|---|---|
| 变更发布 | 依托 DevCloud 流水线服务,DevOps 自动化持续发布,灰度变更 0 中断 |
| 日志管理 | 公有云 ELK 日志平台 |
| 监控告警 | 基础环境监控、性能监控、调用链监控,覆盖面 100% |
| 巡检 | 每日巡检三次,涵盖基础环境、安全、性能,覆盖面 100% |
| 拨测 | 5 分钟一次,覆盖所有服务 L0 级用例,在线实时短信、邮件告警 |
| 工单管理 | 公有云 Cloud Incident MGMT 工单平台 |
| 资源管理 | 普罗米修斯、zeus 运维平台 |
最后,欢迎大家关注我的个人微信公众号 『小小猿若尘』,获取更多IT技术、干货知识、热点资讯。同时,我在公众号中分享了精心整理的一些视频资料(包括 Python全栈教程、AI教程、前端、数据库等),大家回复相应关键词即可获取网盘视频链接,感谢大家的关注😊
【声明】本内容来自华为云开发者社区博主,不代表华为云及华为云开发者社区的观点和立场。转载时必须标注文章的来源(华为云社区)、文章链接、文章作者等基本信息,否则作者和本社区有权追究责任。如果您发现本社区中有涉嫌抄袭的内容,欢迎发送邮件进行举报,并提供相关证据,一经查实,本社区将立刻删除涉嫌侵权内容,举报邮箱:
cloudbbs@huaweicloud.com
- 点赞
- 收藏
- 关注作者







评论(0)